Как работают самозашнуровывающиеся кроссовки Nike?

21 октября компания Nike представила долгожданные кроссовки Nike Air Mag, знакомые нам по фильму «Назад в будущее 2». Как и в фильме, настоящие кроссовки умеют автоматически зашнуровываться, но как это работает?
Издание Wired изучило патент на самозашнуровывающиеся кроссовки, который Nike получила еще пять лет назад. Благодаря этому документу можно получить представление о том, как устроены настоящие Air Mag.

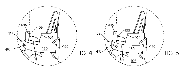
В патенте описано, что кроссовки закрепляют ногу в двух местах. Первый зажим фиксирует лодыжку.

Второй — основной — фиксирует стопу шнурками, расположенными в их привычном месте. На иллюстрации ниже автоматическая шнуровка показана в открытом и закрытом режиме.

В патенте упоминается некая кнопка или переключатель, которая позволит владельцу ослабить шнуровку. Nike также отмечает, что владельцы кроссовок смогут вручную ослабить шнурки, просто потянув за них.

На схеме ниже показано, как работает механизм автоматической шнуровки. В патенте указано, что для работы механизма может использоваться «любой тип энергии», включая электрическую, механическую и химическую. В данном случае демонстрируется работа электродвигателя, который и натягивает шнурки.

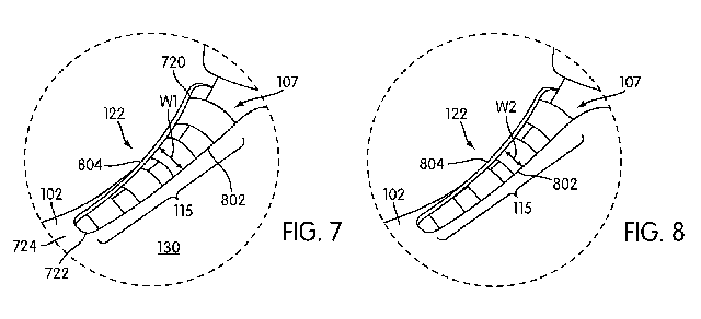
И снова фиксация лодыжки: в патенте говорится, что ремешок будет сам вставляться в нужный паз. Когда ремешок расслаблен, стопа должна свободно проходить через отверстие. А стоит просунуть ногу, как сенсор подаст команду ботинкам затянуть шнурки

Nike раскрыла так мало подробностей, что нельзя понять, насколько точно описание из патента соответствует реальной модели ботинок. Но глядя на то, как актер Майкл Джей Фокс надевает на себя первую пару Air Mag, можно сделать несколько выводов:
Поклонники «Назад в будущее» смогут купить Nike Air Mag весной 2016 года. Их будут продавать на аукционе, деньги с которого пойдут в фонд Майкла Джея Фокса по борьбе с болезнью Паркинсона.